ANKER VIJAK M8-M10 X 115 ZINK

Područja primjene

  • Za primjenu u suhim unutarnjim prostorijama.
  • Za sidrenje sa odobrenjem, npr: ograda, čeličnih konstrukcija, ljestava, stepenica, kapija, nosača, kabelskih staza, pročelja, drvenih konstrukcija u napuknutom i nenapuknutom betonu C20/25 do C50/60.
  • Prikladno i za beton C12/15 i prirodni kamen sa gustom strukturom.

Prednosti

  • Izrada od galvanski pocinčanog čelika.
  • Europsko tehničko odobrenje opcija 1 u napuknutom i nenapuknutom betonu C20/25 do C50/60 kao i testiranje na otpornost od požara R120. ETA također uključuje dodatno odobrenje za uporabu sezmičkih zahtjeva (C1+C2)
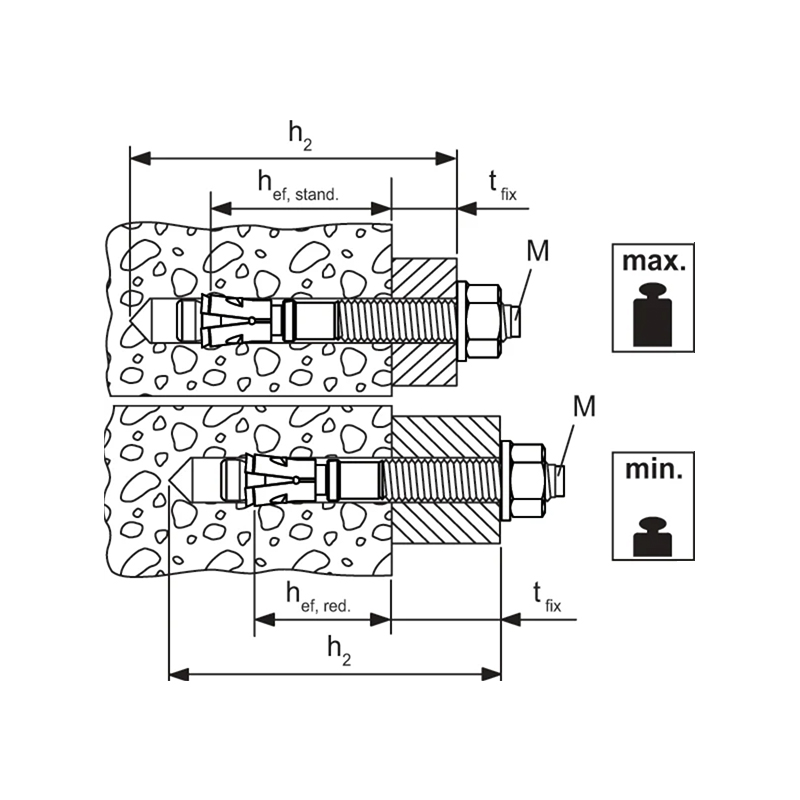
  • Dodatna, smanjena dubina sidrenja za veličine M10, M12 i M16 omogućuje maksimalnu fleksibilnost i učinkovitost tijekom montaže s visokom razinom performansi.
  • Smanjena dubina sidrenja smanjuje potrebu za bušenjem, smanjuje rizik da svrdlo udari u armirano željezo i povećava varijabilnost u uporabi.
  • Geometrijom sidra postižemo veliku nosivu sposobnost pri istovremenom malom osnom i rubnom razmaku.
  • Time se podiže sigurnost kod ukupno manje točki za pričvršćivanje i pri tom se umanjuje visina troška.
  • Primjenjuju se i kod ekstremno tankih betonskih ploča od 80 mm debljine.
  • Jednostavna i brza montaža, manje udaraca čekićem i kraći put zavrtanja do stezanja.
  • Udarni klin štiti navoj od oštećenja i sprječava skupa preuređenja.
  • Brza montaža jednostavnom tehnikom postavljanja bez specijalnih alata.
  • Idealno za serijsku, provrtnu i nadglavnu montažu.

Upute za obradu

  • Kod pričvršćivanja drvenih konstrukcija preporučujemo dodatne podložne pločice DIN 1052 koje se pričvršćuju između drveta i podložne pločice na tiplu.

Savjeti

  • Ø-tipla = Ø-svrdla
  • Sidrenje po europskom odobrenju u nenapuknutom i napuknutom betonu (tlačna i vlačna zona) pri klasi čvrstoće betona od najmanje C20/25 i najviše C50/60 prema EN-u 206.
  • Za daljnje tehničke podatke kontaktirati službu za odobrenja.
  • Prikladno za pričvršćivanje postrojenja za gašenje požara na stropove od betona po mjeri zahtjeva saveza za osiguravanje štete (VdS).
  • Odobrena veličina M10 za sidrenje prskalica za gašenje požara i vješanje cijevi po mjeri Factory Mutual Insurance Company (FM).
  • Način montaže: natična i utična montaža.

Tehnički podaci

materijal: čelik pocinčan